2015年 8卷 第4期
2015, 8(4): 517-534.
doi: 10.3788/CO.20150804.0517
摘要:
经过近30年的发展,半导体激光器已由信息器件逐步发展成为能量器件,特别是大功率高光束质量半导体激光器,已从泵浦光源过渡成为直接作用光源,并部分应用在加工及国防领域。本文介绍了大功率半导体激光单元发展现状,分析讨论了各种激光合束技术及相应的合束光源,介绍了长春光机所在激光合束方面所做的部分工作,提出了我国半导体激光产业建设及发展的几点建议,并对半导体激光技术的发展新动向进行了展望。随着单元亮度的提升和合束技术的成熟,大功率半导体激光源作为间接光源和直接作用光源将在国防和工业领域大放异彩。
经过近30年的发展,半导体激光器已由信息器件逐步发展成为能量器件,特别是大功率高光束质量半导体激光器,已从泵浦光源过渡成为直接作用光源,并部分应用在加工及国防领域。本文介绍了大功率半导体激光单元发展现状,分析讨论了各种激光合束技术及相应的合束光源,介绍了长春光机所在激光合束方面所做的部分工作,提出了我国半导体激光产业建设及发展的几点建议,并对半导体激光技术的发展新动向进行了展望。随着单元亮度的提升和合束技术的成熟,大功率半导体激光源作为间接光源和直接作用光源将在国防和工业领域大放异彩。
2015, 8(4): 535-547.
doi: 10.3788/CO.20150804.0535
摘要:
本文从基于力致变形(机械传动)驱动和基于电致变形(智能材料)驱动两方面分析了柔性变焦透镜(FVFL)的发展现状。通过归纳和分析发现:柔性变焦透镜均存在温度、重力对稳定性的影响。传统力致变形驱动的柔性变焦透镜变焦范围大,但响应速度慢,不易微型化设计;电致变形驱动的柔性变焦透镜响应速度快、结构紧凑。改善变焦透镜成像质量、降低驱动电压是目前柔性变焦透镜的研究热点。探索新颖的驱动方式,研究低功耗、智能化变焦系统将是柔性变焦透镜的主要发展趋势。
本文从基于力致变形(机械传动)驱动和基于电致变形(智能材料)驱动两方面分析了柔性变焦透镜(FVFL)的发展现状。通过归纳和分析发现:柔性变焦透镜均存在温度、重力对稳定性的影响。传统力致变形驱动的柔性变焦透镜变焦范围大,但响应速度慢,不易微型化设计;电致变形驱动的柔性变焦透镜响应速度快、结构紧凑。改善变焦透镜成像质量、降低驱动电压是目前柔性变焦透镜的研究热点。探索新颖的驱动方式,研究低功耗、智能化变焦系统将是柔性变焦透镜的主要发展趋势。
2015, 8(4): 548-556.
doi: 10.3788/CO.20150804.0548
摘要:
阐述了手性负折射率现象的产生机制;总结了近几年国内外手性负折射率材料在仿真模拟和实验制备方面的研究进展;分析了手性负折射率材料的旋光性、手性参数、损耗等;介绍了手性负折射率材料在各个领域的应用。分析认为,探索手性负折射率材料的新机制、新方法和新材料,从而在可见光波段实现负折射率是未来手性负折射率材料的重要发展方向之一。
阐述了手性负折射率现象的产生机制;总结了近几年国内外手性负折射率材料在仿真模拟和实验制备方面的研究进展;分析了手性负折射率材料的旋光性、手性参数、损耗等;介绍了手性负折射率材料在各个领域的应用。分析认为,探索手性负折射率材料的新机制、新方法和新材料,从而在可见光波段实现负折射率是未来手性负折射率材料的重要发展方向之一。
2015, 8(4): 557-566.
doi: 10.3788/CO.20150804.0557
摘要:
本文介绍了中红外固体激光器中新型的Fe2+: ZnSe激光器和基于MgO: PPLN、ZnGeP2晶体的光参量振荡器的发展现状,讨论了它们在发展过程中遇到的技术难题,探讨了中红外固体激光器的未来发展方向。波长为3~5 μm的中红外固体激光器具有效率高、体积小和重量轻等优点,在工业、医疗、军事等方面具有重要应用价值,研制大尺寸、高质量中红外激光晶体和输出波长更长的红外高功率激光泵浦源已成为中红外固体激光器未来发展方向之一。
本文介绍了中红外固体激光器中新型的Fe2+: ZnSe激光器和基于MgO: PPLN、ZnGeP2晶体的光参量振荡器的发展现状,讨论了它们在发展过程中遇到的技术难题,探讨了中红外固体激光器的未来发展方向。波长为3~5 μm的中红外固体激光器具有效率高、体积小和重量轻等优点,在工业、医疗、军事等方面具有重要应用价值,研制大尺寸、高质量中红外激光晶体和输出波长更长的红外高功率激光泵浦源已成为中红外固体激光器未来发展方向之一。
2015, 8(4): 567-573.
doi: 10.3788/CO.20150804.0567
摘要:
随着平板显示技术的发展,透明电极ITO膜的厚度越来越薄。为了测试这种极薄的ITO膜,本文通过改进已有的频域分析算法,以便测试膜厚在20~150 nm之间的ITO膜。与现有算法相比,该算法有效改进了各个波长的位相解析精度。实验结果表明,待测透明电极薄膜的厚度为90~104 nm,其结果和标定值一致,证明了该算法能够测量膜厚小于100 nm的透明电极ITO薄膜。
随着平板显示技术的发展,透明电极ITO膜的厚度越来越薄。为了测试这种极薄的ITO膜,本文通过改进已有的频域分析算法,以便测试膜厚在20~150 nm之间的ITO膜。与现有算法相比,该算法有效改进了各个波长的位相解析精度。实验结果表明,待测透明电极薄膜的厚度为90~104 nm,其结果和标定值一致,证明了该算法能够测量膜厚小于100 nm的透明电极ITO薄膜。
2015, 8(4): 574-581.
doi: 10.3788/CO.20150804.0574
摘要:
本文提出了一种结合Harris与SIFT算子的快速图像配准方法。首先,对Harris算法进行两方面的改进:一是构建高斯尺度空间,提取具有尺度不变性的角点特征;二是采用Forsnter算子对提取的角点精定位,提高配准精度。然后,利用SIFT算子的特征描述方法描述提取到的特征点,通过随机kd树算法对两幅影像的特征点进行匹配。最后采用RANSAC算法对匹配点对进行提纯,并通过最小二乘法估计两幅影像间的空间变换单应矩阵,完成图像配准。实验结果表明:本文方法在基本保持配准精度的同时,在配准过程的时间消耗上比标准SIFT算法减少了64%。
本文提出了一种结合Harris与SIFT算子的快速图像配准方法。首先,对Harris算法进行两方面的改进:一是构建高斯尺度空间,提取具有尺度不变性的角点特征;二是采用Forsnter算子对提取的角点精定位,提高配准精度。然后,利用SIFT算子的特征描述方法描述提取到的特征点,通过随机kd树算法对两幅影像的特征点进行匹配。最后采用RANSAC算法对匹配点对进行提纯,并通过最小二乘法估计两幅影像间的空间变换单应矩阵,完成图像配准。实验结果表明:本文方法在基本保持配准精度的同时,在配准过程的时间消耗上比标准SIFT算法减少了64%。
2015, 8(4): 582-588.
doi: 10.3788/CO.20150804.0582
摘要:
为解决用户线上眼镜的最优选购,提出了一种基于人脸姿态估计的虚拟眼镜试戴技术。首先采用肤色模型与形状模型结合的算法对场景中的人脸区域进行检测,然后根据人眼在人脸中的几何位置关系实现人眼的精确定位;进一步利用人眼对称性先验知识来估计脸在三维空间中的姿态信息,即人脸与正面的偏移角度;最后,依据人眼位置和人脸姿态将眼镜图像融合到眼睛区域,即完成眼镜的虚拟试戴。该方法为3D环境下客户与商品之间虚拟视觉化的实现提供了一种可靠的技术支撑和应用思路。
为解决用户线上眼镜的最优选购,提出了一种基于人脸姿态估计的虚拟眼镜试戴技术。首先采用肤色模型与形状模型结合的算法对场景中的人脸区域进行检测,然后根据人眼在人脸中的几何位置关系实现人眼的精确定位;进一步利用人眼对称性先验知识来估计脸在三维空间中的姿态信息,即人脸与正面的偏移角度;最后,依据人眼位置和人脸姿态将眼镜图像融合到眼睛区域,即完成眼镜的虚拟试戴。该方法为3D环境下客户与商品之间虚拟视觉化的实现提供了一种可靠的技术支撑和应用思路。
2015, 8(4): 589-595.
doi: 10.3788/CO.20150804.0589
摘要:
为了提高动态手势检测的精确度,本文将基于YCbCr颜色空间的混合高斯背景建模应用于动态手势识别中,并且提出手势阴影消除的有效算法。首先,对待检测视频帧通过抠图抠出手势图像,在YCb'Cr'颜色空间进行椭圆拟合,统计建立椭圆肤色模型,继而在YCbCr颜色空间进行混合高斯背景建模检测出动态手势,点乘原图像得到含有阴影的RGB手势图像,对检测出的含有阴影的手势图像利用已建立的椭圆肤色模型进行阴影消除,最后将手势图像连成视频序列。实验结果表明,该算法在复杂背景下进行动态手势的检测率可达91.4%,高出传统方法10%左右,能够满足动态手势检测基本要求,且具有较高的实用价值。
为了提高动态手势检测的精确度,本文将基于YCbCr颜色空间的混合高斯背景建模应用于动态手势识别中,并且提出手势阴影消除的有效算法。首先,对待检测视频帧通过抠图抠出手势图像,在YCb'Cr'颜色空间进行椭圆拟合,统计建立椭圆肤色模型,继而在YCbCr颜色空间进行混合高斯背景建模检测出动态手势,点乘原图像得到含有阴影的RGB手势图像,对检测出的含有阴影的手势图像利用已建立的椭圆肤色模型进行阴影消除,最后将手势图像连成视频序列。实验结果表明,该算法在复杂背景下进行动态手势的检测率可达91.4%,高出传统方法10%左右,能够满足动态手势检测基本要求,且具有较高的实用价值。
2015, 8(4): 596-602.
doi: 10.3788/CO.20150804.0596
摘要:
激光诱导击穿光谱是一种基于激光的定性、定量分析化学元素的方法,可用于分析混合室中的橡胶共混物。本文采用波长为1 064 nm、脉冲能量为100 mJ的Nd: YAG激光诱导击穿光谱法检测橡胶共混物中锌的分散情况。实验表明,正确混料决定了橡胶产品的质量,较短的混合时间将会导致混料的不均匀分散;焦距等参数设置对光谱线强度影响较大。激发标定样品可产生标定曲线。通过行扫描可分析锌在橡胶共混物中的分散情况。通过估算沿着行扫描方向的强度分布,可检测由于混合时间较短和旋转速度不同而引起的锌均匀性变化。
激光诱导击穿光谱是一种基于激光的定性、定量分析化学元素的方法,可用于分析混合室中的橡胶共混物。本文采用波长为1 064 nm、脉冲能量为100 mJ的Nd: YAG激光诱导击穿光谱法检测橡胶共混物中锌的分散情况。实验表明,正确混料决定了橡胶产品的质量,较短的混合时间将会导致混料的不均匀分散;焦距等参数设置对光谱线强度影响较大。激发标定样品可产生标定曲线。通过行扫描可分析锌在橡胶共混物中的分散情况。通过估算沿着行扫描方向的强度分布,可检测由于混合时间较短和旋转速度不同而引起的锌均匀性变化。
2015, 8(4): 603-607.
doi: 10.3788/CO.20150804.0603
摘要:
采用高温固相反应法合成了YAG: 0.02Cr3+,yYb3+系列粉末材料,研究了该系列材料在近红外区域的发光特性,主要包括Cr3+,Yb3+的发光性质、Cr3+: 4T2和Yb3+: 2F5/2能级辐射跃迁寿命以及其布居时间的比较,给出了Yb3+最佳掺杂量为10%。实验表明:通过Cr3+→Yb3+能量传递,实现了Yb3+在1 000 nm附近近红外发光的增强,这对进一步提高c-Si太阳能电池转换效率打下了坚实基础。
采用高温固相反应法合成了YAG: 0.02Cr3+,yYb3+系列粉末材料,研究了该系列材料在近红外区域的发光特性,主要包括Cr3+,Yb3+的发光性质、Cr3+: 4T2和Yb3+: 2F5/2能级辐射跃迁寿命以及其布居时间的比较,给出了Yb3+最佳掺杂量为10%。实验表明:通过Cr3+→Yb3+能量传递,实现了Yb3+在1 000 nm附近近红外发光的增强,这对进一步提高c-Si太阳能电池转换效率打下了坚实基础。
2015, 8(4): 608-614.
doi: 10.3788/CO.20150804.0608
摘要:
以Tb4O7和Ga2O3(化学计量比为3: 5)、Ho2O3、Yb2O3为原料,其中Yb3+的掺杂浓度为8at.%,Ho3+的掺杂浓度分别为0.5at.%、1at.%、1.5at.%、2.0at.%,以碳酸氢铵为沉淀剂,在1 200 ℃下烧结10 h得到了Ho,Yb: Tb3Ga5O12(Ho,Yb: TGG)纳米粉体。对样品进行了XRD物相分析、热重-差热分析、红外光谱分析以及扫描电镜分析、上转换发射光谱分析。实验结果表明,温度为1 200 ℃下样品平均晶粒尺寸为38.10 nm。在泵浦源为980 nm激发下,Ho3+掺杂浓度为1.5at.%,Yb3+掺杂浓度为8at.%时,在红、绿、蓝波段范围内出现了明显的上转换发光现象,并对其形成机理进行了讨论。分析认为,Ho3+由激发态5S2,5F4向基态5I8跃迁,实现了绿光输出,而Ho3+由激发态5F5和5F3向基态5I8跃迁,分别实现了红光和蓝光输出。
以Tb4O7和Ga2O3(化学计量比为3: 5)、Ho2O3、Yb2O3为原料,其中Yb3+的掺杂浓度为8at.%,Ho3+的掺杂浓度分别为0.5at.%、1at.%、1.5at.%、2.0at.%,以碳酸氢铵为沉淀剂,在1 200 ℃下烧结10 h得到了Ho,Yb: Tb3Ga5O12(Ho,Yb: TGG)纳米粉体。对样品进行了XRD物相分析、热重-差热分析、红外光谱分析以及扫描电镜分析、上转换发射光谱分析。实验结果表明,温度为1 200 ℃下样品平均晶粒尺寸为38.10 nm。在泵浦源为980 nm激发下,Ho3+掺杂浓度为1.5at.%,Yb3+掺杂浓度为8at.%时,在红、绿、蓝波段范围内出现了明显的上转换发光现象,并对其形成机理进行了讨论。分析认为,Ho3+由激发态5S2,5F4向基态5I8跃迁,实现了绿光输出,而Ho3+由激发态5F5和5F3向基态5I8跃迁,分别实现了红光和蓝光输出。
2015, 8(4): 615-620.
doi: 10.3788/CO.20150804.0615
摘要:
为了得到高质量、大尺寸Cr2+: ZnSe中红外激光晶体,以适应高功率全固态中红外激光器的发展要求,在高温高压下全石墨腔内运用布里奇曼晶体生长方法,生长出了高质量Ф 30×120 mm Cr2+: ZnSe单晶。采用X射线粉末衍射(XRD)、透射电镜(TEM)、红外稳态吸收及荧光光谱等测试方法对晶体的结构及光谱特性进行了表征,并探讨了Cr2+: ZnSe晶体中Cr2+的能级结构及跃迁机理。结果表明:所生长的Cr2+: ZnSe单晶结构均匀,性质稳定,1.97 μm激发的荧光光谱覆盖1.9~3 μm范围,可用于获得2~3 μm全固态中红外激光。
为了得到高质量、大尺寸Cr2+: ZnSe中红外激光晶体,以适应高功率全固态中红外激光器的发展要求,在高温高压下全石墨腔内运用布里奇曼晶体生长方法,生长出了高质量Ф 30×120 mm Cr2+: ZnSe单晶。采用X射线粉末衍射(XRD)、透射电镜(TEM)、红外稳态吸收及荧光光谱等测试方法对晶体的结构及光谱特性进行了表征,并探讨了Cr2+: ZnSe晶体中Cr2+的能级结构及跃迁机理。结果表明:所生长的Cr2+: ZnSe单晶结构均匀,性质稳定,1.97 μm激发的荧光光谱覆盖1.9~3 μm范围,可用于获得2~3 μm全固态中红外激光。
2015, 8(4): 621-628.
doi: 10.3788/CO.20150804.0621
摘要:
为了解决现有镜面偏心测量设备存在的问题,本文研究了一种采用切换镜头和调焦相结合的方法来设计的镜面偏心测量光学系统,使用这个光学系统,既能使被测镜面的曲率半径扩展到-∞~+∞范围,又能保证测量精度。通过Lighttools软件对这个光学系统进行光线追迹,分析其杂光分布,结果表明:准直镜头内部多次反射产生的杂光强度很低,可以忽略。而当被测镜头中存在相邻球心像距的镜面时,产生的杂光强度比较大,在后续的图像处理过程中,必须增强目标图像的对比度。利用研制的镜面偏心测量设备进行测量实验,结果进一步验证了杂光分析的正确性。
为了解决现有镜面偏心测量设备存在的问题,本文研究了一种采用切换镜头和调焦相结合的方法来设计的镜面偏心测量光学系统,使用这个光学系统,既能使被测镜面的曲率半径扩展到-∞~+∞范围,又能保证测量精度。通过Lighttools软件对这个光学系统进行光线追迹,分析其杂光分布,结果表明:准直镜头内部多次反射产生的杂光强度很低,可以忽略。而当被测镜头中存在相邻球心像距的镜面时,产生的杂光强度比较大,在后续的图像处理过程中,必须增强目标图像的对比度。利用研制的镜面偏心测量设备进行测量实验,结果进一步验证了杂光分析的正确性。
2015, 8(4): 629-635.
doi: 10.3788/CO.20150804.0629
摘要:
为了实现油田井下温度压力的全分布式测量,提出了一种基于光纤散射原理的分布式温度压力测量方法。该方法通过对普通光纤进行封装设计,制作成传感光纤。由于光纤传感器周围流体的温度和压力会对传感光纤内的散射光产生调制作用,通过光纤解调仪解调出光纤拉曼散射参数和布里渊散射频移就能够实现温度和压力的实时在线测量。实验结果表明:设计的分布式光纤温度压力传感器可以实现的温度测量分辨率为0.1 ℃,压力测量分辨率为0.07 MPa。基本满足油田井下温度压力测量的全分布式、实时在线、可靠性高、精度高、抗干扰能力强等要求。
为了实现油田井下温度压力的全分布式测量,提出了一种基于光纤散射原理的分布式温度压力测量方法。该方法通过对普通光纤进行封装设计,制作成传感光纤。由于光纤传感器周围流体的温度和压力会对传感光纤内的散射光产生调制作用,通过光纤解调仪解调出光纤拉曼散射参数和布里渊散射频移就能够实现温度和压力的实时在线测量。实验结果表明:设计的分布式光纤温度压力传感器可以实现的温度测量分辨率为0.1 ℃,压力测量分辨率为0.07 MPa。基本满足油田井下温度压力测量的全分布式、实时在线、可靠性高、精度高、抗干扰能力强等要求。
2015, 8(4): 636-643.
doi: 10.3788/CO.20150804.0636
摘要:
本文基于子弹飞行过程中的红外辐射特性和热成像模型,结合大气对红外辐射吸收和散射衰减,在不同距离处将子弹热成像模型视为扩展源目标和点源目标,利用最小可探测温差(MDTD)、最小可分辨温差(MRTD)和噪声等效功率(NEP)分别给出了相应红外视距模型的估算方法。根据红外热像仪常用参数以3种蒙皮温度给出了3种不同模型下子弹辐射作用距离的计算实例及结果:MDTD模型下得到的作用距离最长,MRTD模型计算所得的作用距离约为MDTD模型的2/3,由NEP模型计算所得的作用距离最短,不到MDTD模型视距的1/2。研究表明,实际设计时应根据不同的系统性能选择作用距离模型。
本文基于子弹飞行过程中的红外辐射特性和热成像模型,结合大气对红外辐射吸收和散射衰减,在不同距离处将子弹热成像模型视为扩展源目标和点源目标,利用最小可探测温差(MDTD)、最小可分辨温差(MRTD)和噪声等效功率(NEP)分别给出了相应红外视距模型的估算方法。根据红外热像仪常用参数以3种蒙皮温度给出了3种不同模型下子弹辐射作用距离的计算实例及结果:MDTD模型下得到的作用距离最长,MRTD模型计算所得的作用距离约为MDTD模型的2/3,由NEP模型计算所得的作用距离最短,不到MDTD模型视距的1/2。研究表明,实际设计时应根据不同的系统性能选择作用距离模型。
2015, 8(4): 644-650.
doi: 10.3788/CO.20150804.0644
摘要:
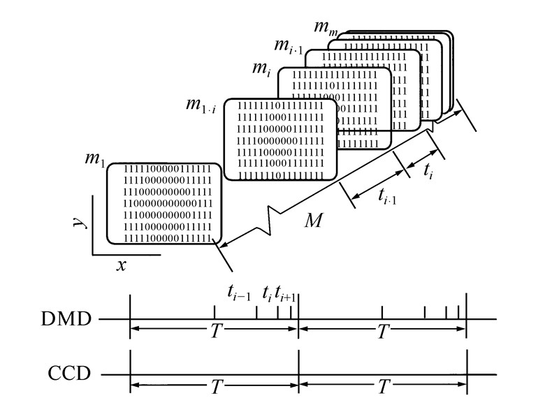
高动态范围的图像可用于同时探测具有较大对比度的亮暗目标,利用数字微镜(DMD)获取高动态范围图像是目前最为先进的一种技术。本文在分析DMD工作原理的基础上,设计了一种像素级的高动态范围图像获取系统,该系统由光学系统、机械系统、DMD像素级调光算法及成像单元组成。光学系统采用二次成像光路,其中第一次成像物镜采用像方远心光路,第二次成像的转置镜头采用放大倍率近似1: 1的准对称结构,机械系统采用光学元件的包边设计和定心车工艺,达到秒级的光学装配精度;DMD像素级调光算法采用搜索单个微镜像素在图像帧周期间的控制权值实现,成像单元可同时兼顾科学级12 bit sCMOS和8 bit CCD,设计完成的原理样机验证了系统设计的正确性,其获取的图像动态范围可达140 dB以上,远高于传统摄像机78 dB的动态范围。
高动态范围的图像可用于同时探测具有较大对比度的亮暗目标,利用数字微镜(DMD)获取高动态范围图像是目前最为先进的一种技术。本文在分析DMD工作原理的基础上,设计了一种像素级的高动态范围图像获取系统,该系统由光学系统、机械系统、DMD像素级调光算法及成像单元组成。光学系统采用二次成像光路,其中第一次成像物镜采用像方远心光路,第二次成像的转置镜头采用放大倍率近似1: 1的准对称结构,机械系统采用光学元件的包边设计和定心车工艺,达到秒级的光学装配精度;DMD像素级调光算法采用搜索单个微镜像素在图像帧周期间的控制权值实现,成像单元可同时兼顾科学级12 bit sCMOS和8 bit CCD,设计完成的原理样机验证了系统设计的正确性,其获取的图像动态范围可达140 dB以上,远高于传统摄像机78 dB的动态范围。
2015, 8(4): 651-666.
doi: 10.3788/CO.20150804.0651
摘要:
有机-无机杂化复合纳米材料可以在微观尺寸上将有机和无机组分相结合,使复合材料兼具两种组分的优点,实现所需的性能或功能,因此成为材料学的研究热点之一。本文以有机荧光染料罗丹明、三苯胺和金属配合物发光材料为母体,制备出一系列对汞离子、铜离子、铁离子等常见金属离子具有明显光谱响应的探针类材料并选取合适的支撑基质组装成有机-无机复合材料,实现了对金属离子和一些阴离子的目视比色传感。不同离子的加入及加入顺序都会对探针类材料的吸收及发光光谱造成明显的变化。以不同的金属离子或氧气作为输入值,以吸收强度/发光强度作为输出值,模拟了分子水平的逻辑门,拓展了这些材料的应用。为了解决背景荧光干扰,我们利用六角相的β-NaYF4纳米晶为激发源,采用二氧化硅进行包覆,然后将荧光探针分子固载到二氧化硅表面,得到了对金属离子具有传感性能的核壳型的上转换纳米复合材料。在近红外激发下能够显示明亮的上转换绿光发射,同时对金属离子具有较好的选择性、较高的灵敏度,并且其荧光强度表现出对汞离子浓度的线性响应。这种纳米复合材料的上转换光学性质、汞离子传感性能使它们在分析化学、生物化学等领域有潜在的应用价值。
有机-无机杂化复合纳米材料可以在微观尺寸上将有机和无机组分相结合,使复合材料兼具两种组分的优点,实现所需的性能或功能,因此成为材料学的研究热点之一。本文以有机荧光染料罗丹明、三苯胺和金属配合物发光材料为母体,制备出一系列对汞离子、铜离子、铁离子等常见金属离子具有明显光谱响应的探针类材料并选取合适的支撑基质组装成有机-无机复合材料,实现了对金属离子和一些阴离子的目视比色传感。不同离子的加入及加入顺序都会对探针类材料的吸收及发光光谱造成明显的变化。以不同的金属离子或氧气作为输入值,以吸收强度/发光强度作为输出值,模拟了分子水平的逻辑门,拓展了这些材料的应用。为了解决背景荧光干扰,我们利用六角相的β-NaYF4纳米晶为激发源,采用二氧化硅进行包覆,然后将荧光探针分子固载到二氧化硅表面,得到了对金属离子具有传感性能的核壳型的上转换纳米复合材料。在近红外激发下能够显示明亮的上转换绿光发射,同时对金属离子具有较好的选择性、较高的灵敏度,并且其荧光强度表现出对汞离子浓度的线性响应。这种纳米复合材料的上转换光学性质、汞离子传感性能使它们在分析化学、生物化学等领域有潜在的应用价值。
摘要
HTML全文
PDF 1725KB