留言板

尊敬的读者、作者、审稿人, 关于本刊的投稿、审稿、编辑和出版的任何问题, 您可以本页添加留言。我们将尽快给您答复。谢谢您的支持!

姓名
邮箱
手机号码
标题
留言内容
验证码

基于差分时间数字转换光子计数技术的时域扩散光学成像系统研究

刘欣霖 路光达 秦转萍 郭庭航 刘东远 高峰

刘欣霖, 路光达, 秦转萍, 郭庭航, 刘东远, 高峰. 基于差分时间数字转换光子计数技术的时域扩散光学成像系统研究[J]. 中国光学(中英文), 2025, 18(6): 1316-1326. doi: 10.37188/CO.2025-0048
引用本文: 刘欣霖, 路光达, 秦转萍, 郭庭航, 刘东远, 高峰. 基于差分时间数字转换光子计数技术的时域扩散光学成像系统研究[J]. 中国光学(中英文), 2025, 18(6): 1316-1326. doi: 10.37188/CO.2025-0048
LIU Xin-lin, LU Guang-da, QIN Zhuan-ping, GUO Ting-hang, LIU Dong-yuan, GAO Feng. A time-domain diffuse optical imaging system based on differential time-to-digital converter photon-counting technology[J]. Chinese Optics, 2025, 18(6): 1316-1326. doi: 10.37188/CO.2025-0048
Citation: LIU Xin-lin, LU Guang-da, QIN Zhuan-ping, GUO Ting-hang, LIU Dong-yuan, GAO Feng. A time-domain diffuse optical imaging system based on differential time-to-digital converter photon-counting technology[J]. Chinese Optics, 2025, 18(6): 1316-1326. doi: 10.37188/CO.2025-0048

基于差分时间数字转换光子计数技术的时域扩散光学成像系统研究

cstr: 32171.14.CO.2025-0048
基金项目: 国家自然科学基金(No. 62205239,No. 62075156);中国博士后自然科学基金(No. 2023M732600);天津市信息传感与智能控制重点实验室开放基金课题(No. 2023KFJJ02)
详细信息
    作者简介:

    刘东远(1990—),男,河北廊坊人,博士,助理研究员,2022 年于天津大学精密仪器与光电子工程学院获得生物医学工程专业博士学位,主要从事组织光学成像等方面的研究。E-mail:liudongyuan@tju.edu.cn

  • 中图分类号: O434

A time-domain diffuse optical imaging system based on differential time-to-digital converter photon-counting technology

Funds: Supported by the National Natural Science Foundation of China (No. 62205239, No. 62075156); China Postdoctoral Science Foundation (No. 2023M732600); Open Fund Project of Tianjin Key Laboratory of Information Sensing and Intelligent Control (No. 2023KFJJ02)
More Information
  • 摘要:

    时域扩散光学成像(time domain diffuse optical imaging, TD-DOI)作为一种先进的组织光学成像技术,通过时间相关单光子计数(time-correlated single photon counting, TCSPC)系统可实现生物组织吸收系数与散射系数的定量重建,从而精确评估组织氧代谢、血流灌注等关键生理参数。然而,受限于TCSPC系统固有的硬件复杂性、高成本特性,目前难以实现临床场景下在体多通道动态监测的规模化应用。本文发展了一种双通道差分混合触发参考信号策略,通过结合差分时间数字转换(time-to-digital converter, TDC)器件和光子计数技术,构建稳定可靠的时间扩展曲线(time point spread function, TPSF)测量体系,实现了激光同步信号与出射光子信号时间延迟的亚纳秒级精确标定。实验验证数据显示,所发展系统时间分辨率为55 ps,在2.3×104 光子/s计数率下,TPSF波动系数可稳定控制在1.35%以内(积分时间1 s)。针对组织仿体的光学参数反演测试表明,组织光学参数反演精度方面,吸收系数与约化散射系数的平均反演误差分别在5.39%和4.34%以内。该技术方案显著提升了TD-DOI多通道并行检测可行性,特别适用于脑皮层血氧饱和度动态监测等生物医学场景,为开发新一代穿戴式光学脑功能成像设备奠定了技术基础。

     

  • 图 1  基于差分TDC光子计数技术的TD-DOI系统设计框架

    Figure 1.  Design framework of TD-DOI system based on differential TDC photon-counting technology

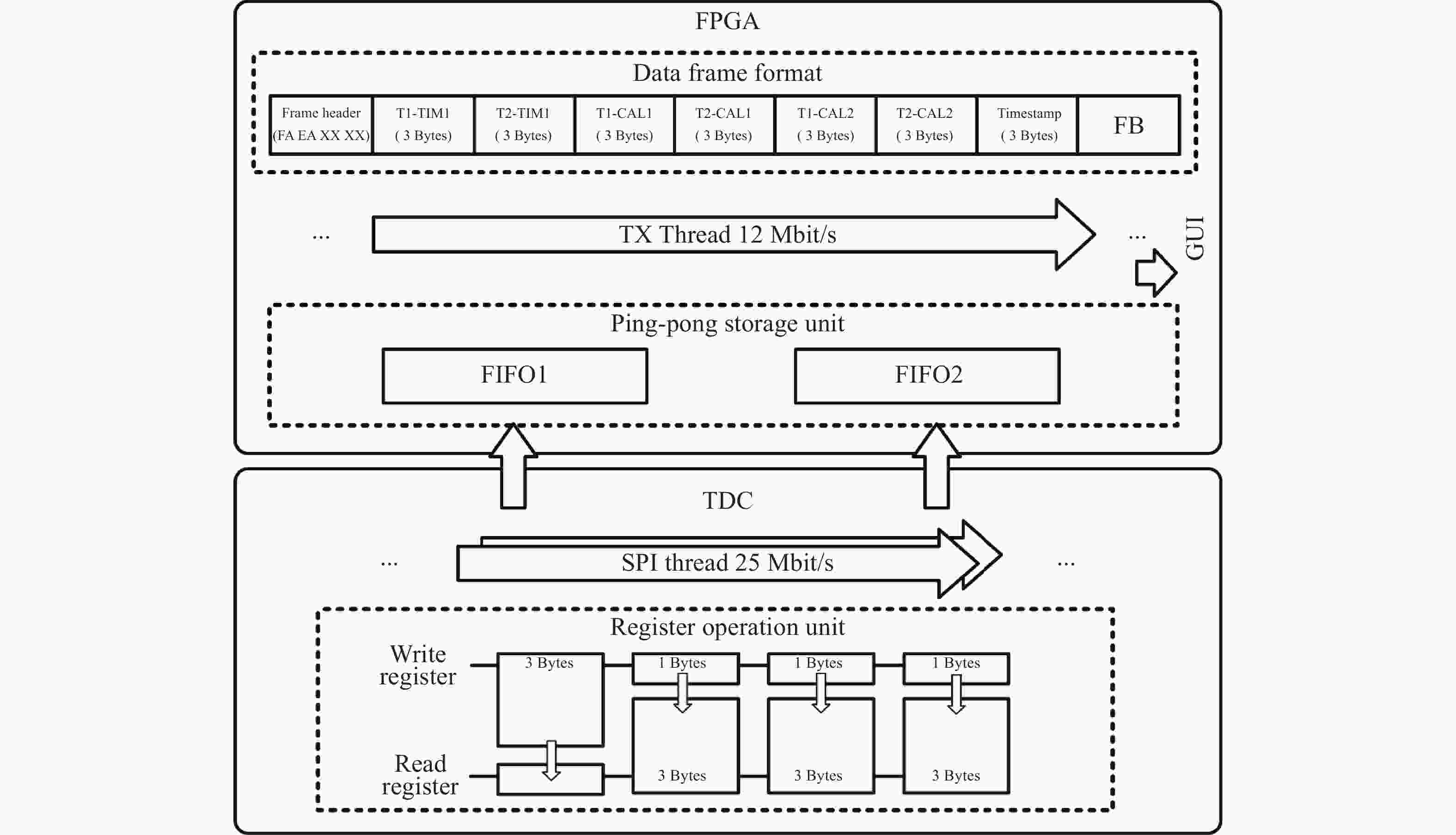
    图 2  测量与传输过程时序图

    Figure 2.  Timing diagram for measurement and transmission process

    图 3  双通道差分混合触发策略示意图。(a)通道连接原理框图;(b)测量时序图

    Figure 3.  Schematic diagram of dual-channel differential hybrid triggering strategy. (a) Block diagram of channel connection principle; (b) measurement timing diagram

    图 4  基于差分测量信息的时间间隔结果校正流程图

    Figure 4.  Flowchart of time interval result correction based on differential measurement information

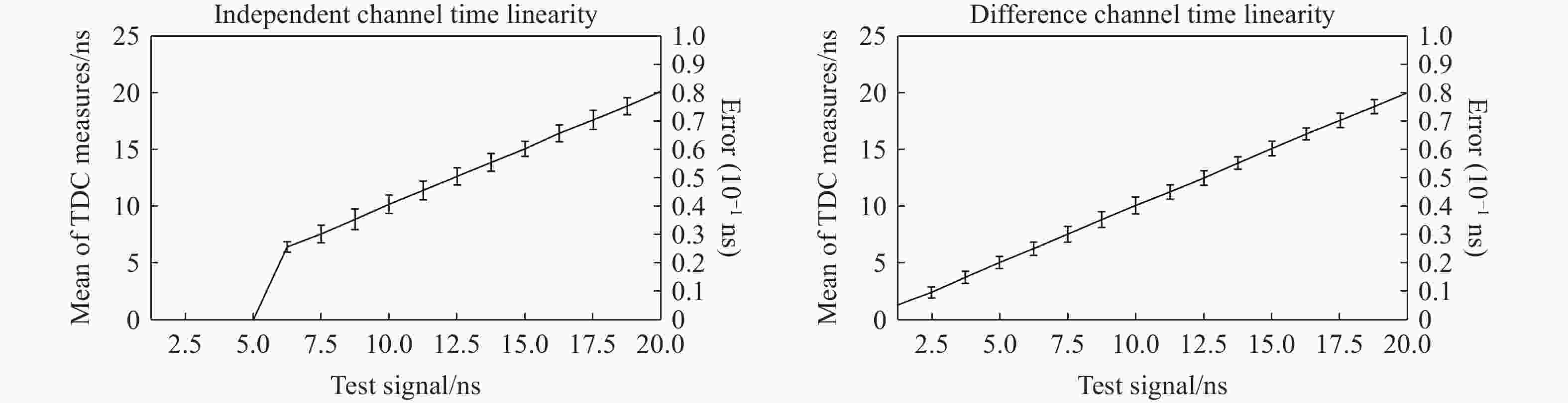
    图 5  标准信号输入时的系统稳定性测试结果

    Figure 5.  Test results of system stability under standard signal input

    图 6  不同源探距离系统时间飞行曲线稳定性对比测试结果。(a)TCSPC 在不同源探距离配置下 TPSF 曲线;(b)TDC 在不同源探距离配置下 TPSF 曲线

    Figure 6.  Comparison test results of stability of time flight curves of different source-to-probe distance systems. (a) The TPSF curves of TCSPC under different source-to-detector distance configurations; (b) the TPSF curve of TDC under different source detection distance configurations

    图 7  系统稳定性能评估测试结果。(a)实验配置图(仿体尺寸:长 85 cm;宽 50 cm;高 50 cm);(b)TCSPC 与TDC 系统的 IRF 曲线特点对比;(c)TDC 在不同配置下 FHWM 及<t>变化规律

    Figure 7.  Evaluation results of TPSF stability in the phantom experiment. (a) Experimental configuration diagram (phantom dimensions: 85 cm (L) × 50 cm (W) × 50 cm (H)); (b) comparison of the of the IRF between TCSPC and the TDC module; (c) variation of FWHM and <t> of TDC module under different configurations

    图 8  光学参数反演精度对比测试结果。(a)TCSPC(积分时间为 10 s)TDC 系统(积分时间为 20 s)和吸收系数反演结果稳定性及准确性;(b)TCSPC(积分时间为 10 s)TDC 系统(积分时间为 20 s)和散射系数反演结果稳定性及准确性

    Figure 8.  Comparison test results of optical parameter inversion accuracy. (a) TCSPC (integration time: 10s) TDC system (integration time: 20 s) and the stability and accuracy of the absorption coefficient inversion results; (b) TCSPC (integration time: 10 s) TDC system (integration time: 20 s) and the stability and accuracy of the inversion results of the scattering coefficient

  • [1] PAPADIMITRIOU K I, DEMPSEY L A, HEBDEN J C, et al. A spread spectrum approach to time-domain near-infrared diffuse optical imaging using inexpensive optical transceiver modules[J]. Biomedical Optics Express, 2018, 9(6): 2648-2663. doi: 10.1364/BOE.9.002648
    [2] DELPY D T, COPE M, VAN DER ZEE P, et al. Estimation of optical pathlength through tissue from direct time of flight measurement[J]. Physics in Medicine and Biology, 1988, 33(12): 1433-1442. doi: 10.1088/0031-9155/33/12/008
    [3] ALMAJIDY R K, MANKODIYA K, ABTAHI M, et al. A newcomer's guide to functional near infrared spectroscopy experiments[J]. IEEE Reviews in Biomedical Engineering, 2020, 13: 292-308. doi: 10.1109/RBME.2019.2944351
    [4] SONG M, ZHANG Y J, CUI Y, et al. Brain network studies in chronic disorders of consciousness: advances and perspectives[J]. Neuroscience Bulletin, 2018, 34(4): 592-604. doi: 10.1007/s12264-018-0243-5
    [5] YANG L, WABNITZ H, GLADYTZ T, et al. Spatially-enhanced time-domain NIRS for accurate determination of tissue optical properties[J]. Optics Express, 2019, 27(19): 26415-26431. doi: 10.1364/OE.27.026415
    [6] NABACINO M, AMENDOLA C, CONTINI D, et al. Fast multi-distance time-domain NIRS and DCS system for clinical applications[J]. Sensors, 2024, 24(22): 7375. doi: 10.3390/s24227375
    [7] ORTEGA-MARTINEZ A, ROGERS D J, ANDERSON J, et al. How much do time-domain functional near-infrared spectroscopy (fNIRS) moments improve estimation of brain activity over traditional fNIRS?[J]. Neurophotonics, 2023, 10(1): 013504.
    [8] WEI L P, TIAN Y, YAN W R, et al. Liquid-core waveguide TCSPC sensor for high-accuracy fluorescence lifetime analysis[J]. Analytical and Bioanalytical Chemistry, 2019, 411(16): 3641-3652. doi: 10.1007/s00216-019-01847-6
    [9] FARINA S, LABANCA I, ACCONCIA G, et al. A 4.5 Ps precision TCSPC system: design principles and characterization[J]. IEEE Journal of Selected Topics in Quantum Electronics, 2024, 30(1): 3800611.
    [10] CHEKIN Y, DECKER D, DEHGHANI H, et al. Time-domain diffuse optical tomography for precision neuroscience[J]. bioRxiv, 2024: 2024. 04. 30. 591765.
    [11] CHEN H CH. Design and implementation of high linearity FPGA-TDCs and an integrated large scale TCSPC system for time-resolved applications[D]. Glasgow: University of Strathclyde, 2020.
    [12] XIAO D, SAPERMSAP N, SAFAR M, et al. On synthetic instrument response functions of time-correlated single-photon counting based fluorescence lifetime imaging analysis[J]. Frontiers in Physics, 2021, 9: 635645. doi: 10.3389/fphy.2021.635645
    [13] DUBOIS J, DUFFY J G, FIELD R M, et al. A functional neuroimaging biomarker of mild cognitive impairment using TD-fNIRS[J]. npj Dementia, 2025, 1(1): 14. doi: 10.1038/s44400-025-00018-y
    [14] RE R, PIROVANO I, CONTINI D, et al. Reliable fast (20 Hz) acquisition rate by a TD fNIRS device: brain resting-state oscillation studies[J]. Sensors, 2022, 23(1): 196. doi: 10.3390/s23010196
    [15] LI C, LUO Y J, HUANG Y, et al. A low-cost test method for accurate detection of different excited-state species with a lifetime span over 5 orders of magnitude in one time window[J]. Analytical Chemistry, 2023, 95(21): 8150-8155. doi: 10.1021/acs.analchem.3c00319
    [16] DUBOIS J, FIELD R M, JAWHAR S, et al. Reliability of brain metrics derived from a time-domain functional near-infrared spectroscopy system[J]. Scientific Reports, 2024, 14(1): 17500. doi: 10.1038/s41598-024-68555-9
    [17] BAN H Y, BARRETT G M, Borisevich A, et al. Kernel flow: a high channel count scalable TD-fNIRS system[J]. Proceedings of SPIE, 2021, 11663: 116630B.
    [18] BOAS D, VON LÜHMANN A, YÜCEL M, et al. Advances in wearable high density fNIRS and utility for BCI[C]. Proceedings of 2024 12th International Winter Conference on Brain-Computer Interface (BCI), IEEE, 2024: 1-2.
    [19] RE R, CONTINI L, CONTINI D, et al. Cerebral resting state oscillations study with TD fNIRS[C]. Proceedings of European Conference on Biomedical Optics, Optica Publishing Group, 2023: 126280I.
    [20] ZALKE J B, PANDEY S R, NARKHEDE N P. An ultrasonic time-of-flight sensing system based on custom hardware of Time to Digital Converter (TDC) for measurement of glucose concentration[J]. IEEE Sensors Journal, 2024, 24(7): 11136-11143. doi: 10.1109/JSEN.2024.3363763
    [21] MACLEAN J I, STEWART B D, GYONGY I. TDC-less direct time-of-flight imaging using spiking neural networks[J]. IEEE Sensors Journal, 2024, 24(20): 33838-33846. doi: 10.1109/JSEN.2024.3454974
    [22] ARREDONDO-VELÁZQUEZ M, REBOLLEDO-HERRERA L, ZEPEDA-FERNÁNDEZ H, et al. Trimmed-TDL-based TDC architecture for time-of-flight measurements tested on a cyclone V FPGA[J]. IEEE Transactions on Instrumentation and Measurement, 2023, 72: 2003309.
    [23] WU J Y, SHI Z H. The 10-ps wave union TDC: improving FPGA TDC resolution beyond its cell delay[C]. Proceedings of 2008 IEEE Nuclear Science Symposium Conference Record, IEEE, 2008: 3440-3446.
    [24] ADAMIČ M, TROST A. A fast high-resolution time-to-digital converter implemented in a Zynq 7010 SoC[C]. Proceedings of 2019 Austrochip Workshop on Microelectronics (Austrochip), IEEE, 2019: 29-34.
    [25] KIM E J, PARK H S, CHOI W Y, et al. Direct time-of-flight sensor system based on SPAD IC[C]. Proceedings of 2024 IEEE International Conference on Consumer Electronics-Asia (ICCE-Asia), IEEE, 2024: 1-4.
  • 加载中
图(8)
计量
  • 文章访问数:  446
  • HTML全文浏览量:  232
  • PDF下载量:  66
  • 被引次数: 0
出版历程
  • 收稿日期:  2025-03-18
  • 修回日期:  2025-04-02
  • 网络出版日期:  2025-08-26

目录

    /

    返回文章
    返回